【ChatGPT活用】特許のややこしい文章を要約する
特許の文献は、ややこしい文章で読んだり、まとめたりするのが大変です。
ChatGPTでサポートしてもらう事例を紹介します。
事例とする特許
特許登録第7372051号
発明の名称:美容器、及びその制御方法
出願人:ヤーマン株式会社

Contents
命令文(プロンプト)
次の特許の文章について、専門家以外が読んでもわかりやすいように概要を一言でまとめよ
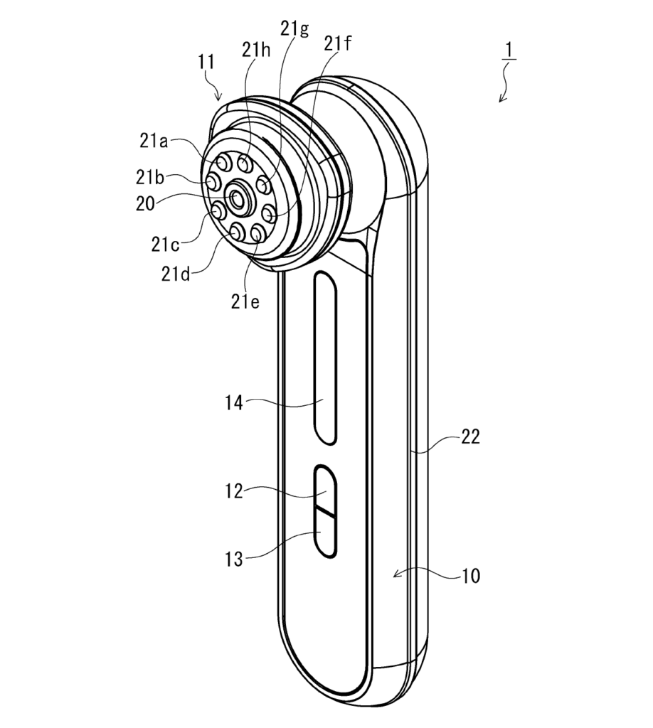
【課題】 使用者の肌面に異なる特性の電流を通電すると共に、肌面の様々な部位に通電が可能な美容器、及びその制御方法を提供すること。
【解決手段】 使用者の肌面に異なる特性の電流を通電可能な美容器1であって、2以上の特性の電流を発生する電源部31と、中央に1つの中央電極20と、中央電極の外周方向に離間した位置に3以上の外周電極21と、使用者が手で把持した際に通電可能な手元電極22とを備える構成において、中央電極20と手元電極22との間に、第1の特性の第1電流を通電すると共に、外周電極21のうち所定の組み合わせの電極間に、第2の特性の第2電流を通電する美容器を提供する。
ChatGPTの回答
美容器は、使用者の肌面に異なる特性の電流を通電し、中央電極と外周電極を組み合わせて様々な部位に電流を流すことが可能。
かなりわかりやすく整理できたかと思います。



