【2025年最新】パナソニック「FINE VEIL」シャワーヘッド誕生!独自技術と商標取得でブランド確立
1. パナソニック、美容シャワー市場に本格参入
2025年11月、パナソニックは初の美容シャワーヘッド 「FINE VEIL(ファインベール)EH-SH50」 を発売します。市場想定価格は約34,000円。従来の「ナノケア」ドライヤーや美容家電に加え、「髪を洗う」領域へ拡大し、ヘアケア市場での存在感をさらに強めます。
2. 製品の特徴
高濃度のウルトラファインバブル
独自のバブル発生機構により、大量かつ高濃度のファインバブルを生成。ファインバブル産業会の評価で、家庭用シャワーヘッドとして唯一「クラス4d」を取得。髪のまとまりやツヤ、トリートメント効果の向上に寄与します。
ヘアケアモードと美肌モード
・プレシャンプーモード:頭皮の汚れを落とし、シャンプー泡立ちを助ける。
・ヘアケアモード:柔らかな水流でトリートメント浸透をサポート。
・ミスト/ボディケア/シルクバスモード:顔・身体・入浴での美肌ケアに対応。
3. ChatGPTで調べた「特許出願」の裏付け
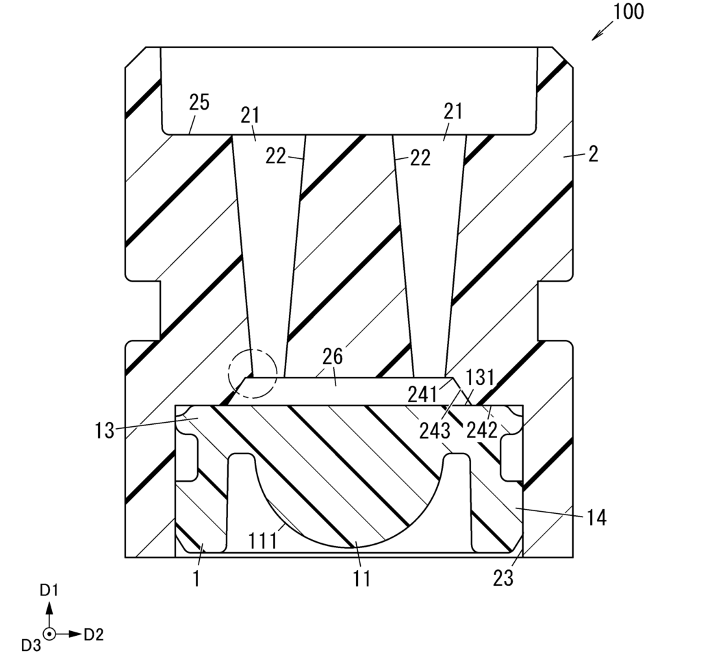
本製品には、パナソニックが出願中の特許技術が活用されています。関連するのはJP2025040317A「バブル生成器」。

内容は「ベンチュリ管の手前に半球形状の部品を配置し、水流を保ちながら効率的に大量のファインバブルを発生させる仕組み」です。
これにより「FINE VEIL」は、独自技術を出願でしっかり保護した製品であることが分かります。
4. 商標によるブランド強化
さらに、パナソニックは「FINE VEIL」の商標を2025年6月に登録済み。
登録区分は第11類(シャワーヘッド等)。
「ファインベール」をブランド名として確立し、シリーズ展開を見据えたブランディングを進めています。
まとめ
パナソニックの「FINE VEIL」は、
・特許出願による技術的裏付け
・商標登録によるブランド保護
を背景にした、美容シャワーヘッドの新基軸です。
美髪と美肌を同時に叶える新習慣を提供し、パナソニックの美容家電ラインをさらに広げる注目アイテムとなるでしょう。





