【IP News】Nike Sues Lululemon for Shoes Patent
On January 31, Nike filed a lawsuit in the United States alleging that Lululemon had infringed on its patents (Case No. 1:23-cv-00771).
Details: https://insight.rpxcorp.com/litigation/nysdce-593182-nike-v-lululemon
The impact on Lululemon's stock price does not appear to be particularly significant.
Overview
Filed: 01/30/2023
Case No. 1:23-cv-00771
Plaintiff: Nike, Inc.
Defendant: Lululemon USA Incorporated
Assigned Judge: J. Paul Oetken
Court: Southern District of New York
https://insight.rpxcorp.com/litigation/nysdce-593182-nike-v-lululemon#overview
Targeted Items


The four footwear items, "Blissfeel," "Chargefeel Low," "Chargefeel Mid," and "Strongfeel," which are all running shoes currently on sale as of January 2023, are the subject of the lawsuit.
*Note that these products are not currently available in Japan.
Nike claims that Lululemon is infringing on Nike's proprietary upper material, "Flyknit technology."
Nike is seeking damages from Lululemon.
- In particular, all of the following patents are targeted for Chargefeel Mid.
About the Patents
Three US patents related to Flyknit technology are cited.
One of them (US8266749B2) is similar to the patent exercised against Adidas recently.
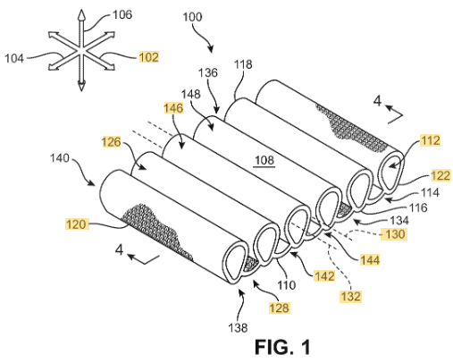
US8266749B2
Method for producing a knitted upper

The underside hidden by the tube-shaped structure is exposed when the fabric is pulled, as the tube-shaped part separates.

US9730484B2
A structure in which the center of the knitted upper is raised in a three-dimensional manner.

Other Information
Nike has previously filed patent infringement lawsuits against Adidas and PUMA based on Flyknit-related patents. (Already settled.)
In January 2022, Lululemon, including its affiliated company Curiouser Products, was sued for patent infringement in the MIRROR business (in progress).
At that time, six digital fitness patents owned by Nike were utilized.
Adidas v. Nike:https://www.oji-be-free.com/2023/03/21/post-2015/





