【知財ニュース】ダイソンの新ヘアアイロン?新商品情報?をキャッチ(追記:ついに商品発表)
ダイソンの新しい意匠登録と特許出願が公開された。
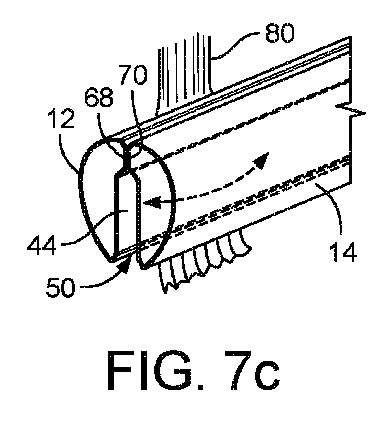
内容を確認すると、温風を用いた新しいヘアアイロンに関するもの。意匠登録(デザインの権利)もあるということで、すでに商品化の目処は立っていると思われる。
他数件の意匠出願あり

温風があることで、従来の高温のプレートで強く押し潰す必要が無くなり、プレート温度を下げて髪のダメージが少ないヘアアイロンになるという。


続報(2023/05/12)
Dyson Airstrait™ヘアストレートナーがリリースされました。

Dyson Airstrait™ヘアストレートナーの特徴
・髪の強さや健康的な質感を保ちながら、自然で動きのあるストレートヘアを実現
・2本のアームで髪を挟み、そこから正確な角度の高圧ブレードを髪に押し当て、1台でドライとストレートスタイルを同時に行うことが可能。
・ホットプレートを使わず、過度な熱に頼らないで濡れた状態からドライとストレートを同時に行う
知財情報を活用することで、こういった商品情報を早くキャッチできることは改めて面白いと感じて頂けるのではないでしょうか。






